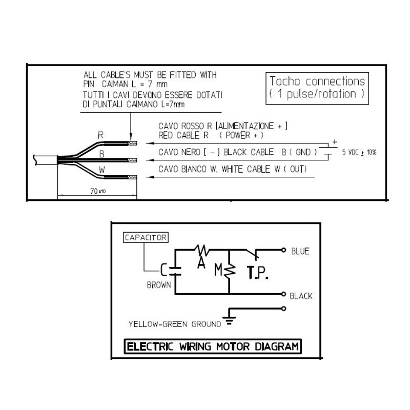
Fergas rookgasventilator met AISI 430 stalen rotor
Voldoet aan normen: EN60335-1 ; EN61591 ; EN60704-3 ; EN60704-4 ; Isolatie klasse F ; Beschermingsklasse I
Wordt gebruikt in o.a. de volgende pelletkachels/ketels:
LET OP: merk en model kan verschillen per kachel en bouwjaar: Controleer merk en type van uw rookgasventilator voor u besteld.











































